| 索引号: |
/202007-00001 |
信息分类: |
权责清单和动态调整情况 |
| 内容分类: |
其他,其他 |
发布机构: |
砀山县退役军人事务局 |
| 成文日期: |
2023-07-17
|
发布时间: |
2023-07-17 15:36 |
| 文号: |
无 |
有效性: |
有效
|
| 废止时间: |
暂无 |
关键词: |
|
| 名称: |
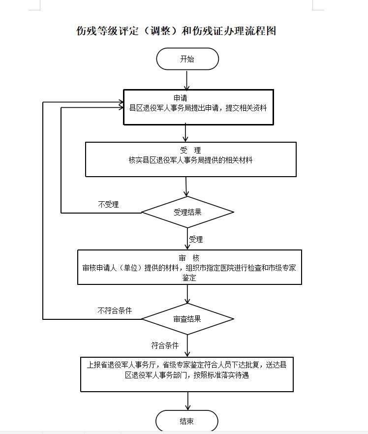
【行政权力分表】行政权力流程图(2023年) |
| 索引号: |
/202007-00001 |
| 信息分类: |
权责清单和动态调整情况 |
| 内容分类: |
其他,其他 |
| 发布机构: |
砀山县退役军人事务局 |
| 成文日期: |
2023-07-17
|
| 发布时间: |
2023-07-17 15:36 |
| 文号: |
无 |
| 有效性: |
有效
|
| 废止时间: |
暂无 |
| 关键词: |
|
| 名称: |
【行政权力分表】行政权力流程图(2023年) |
【行政权力分表】行政权力流程图(2023年)
文章来源: 砀山县退役军人事务局浏览量:发表时间:2023-07-17 15:36